LED壁灯ALT-YBD165

LED数量:
36pcs
功率:
36W
色温:
R/Y/B/G/W
电压:
DC24V/AC220V
控制方式:
ON/OFF
光束角:
15°~60°
防水等级:
IP65
产品尺寸:
θ165*200mm
灯体材质:
ADC12高纯压铸铝,超高透光钢化玻璃

产品详情

案例图片 / Picture



产品尺寸 / Product Size

LED壁灯


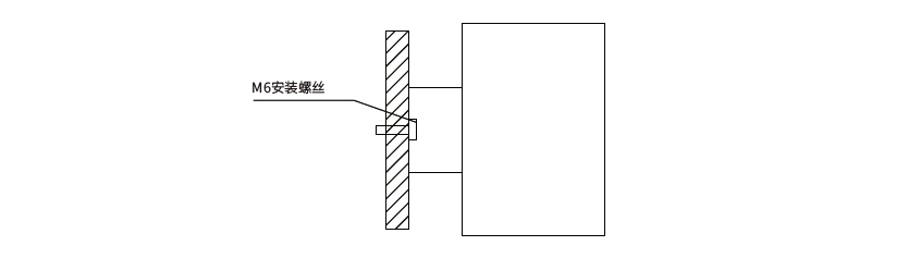
安装方式 / lnstallation Mode


LED壁灯

给我们留言:
联系我们:

6686在线注册

地址:广州市花都区花城街永昌路21-1号

电话:020-36933476

邮箱:[email protected]

网址:

热线:13543493649

在线咨询